Ominaisuudet:
Malli:
- Puolikoneistettu laippa, valurautamalli
- DIN 55029 mukainen Camlock-suorakiinnitys
- Koneen puoleiselta sivulta vamiiksi työstetty
- Istukan puolelta tasosorvattu
Käyttöalue:
- Tasokierukka-sorvinistukan ja sylinterimäisellä kiinnityksellä varustetun 4-leukaistukan kiinnittämiseen
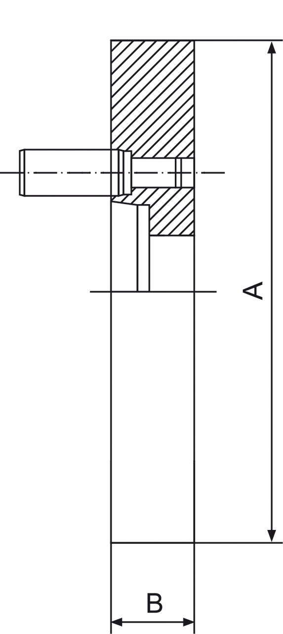
| Laipan koko | 125/D4 |
| Halkaisija | 125 mm |
| Kiila | 4 |
| A | 127 mm |
| B | 28 mm |
| Reikä | 61 mm |


