Ominaisuudet
Malli:
- Puolikoneistettu laippa, valurautamalli
- DIN 55029 mukainen Camlock-suorakiinnitys
- Koneen puoleiselta sivulta vamiiksi työstetty
- Istukan puolelta tasosorvattu
Käyttöalue:
- Tasokierukka-sorvinistukan ja sylinterimäisellä kiinnityksellä varustetun 4-leukaistukan kiinnittämiseen
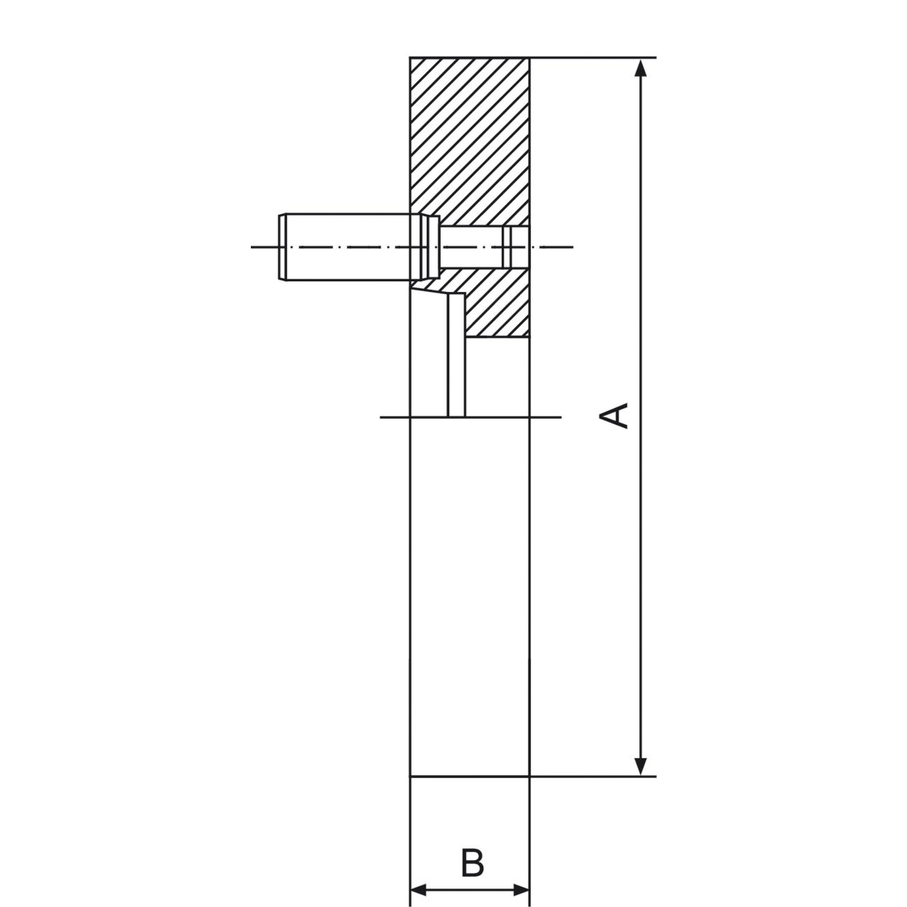
Tekniset tiedot
| Laipan koko | 250/D8 |
| Halkaisija | 250 mm |
| Kiila | 8 |
| A | 253 mm |
| B | 42 mm |
| Reikä | 136,2 mm |


