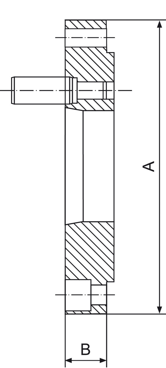
Malli:
- Puolikoneistettu laippa, valurautamalli
- DIN 55029 mukainen Camlock-suorakiinnitys
- Koneen puoleiselta sivulta valmiiksi työstetty
- Istukan puolelta kierretty ja porattu
Käyttöalue:
- Tasokierukka-sorvinistukan ja sylinterimäisellä kiinnityksellä varustetun 4-leukaistukan kiinnittämiseen
| Laipan koko | 125/D3 |
| Halkaisija | 125 mm |
| Kiila | 3 |
| A | 125 mm |
| B | 26 mm |
| Reikä | 51,5 mm |





